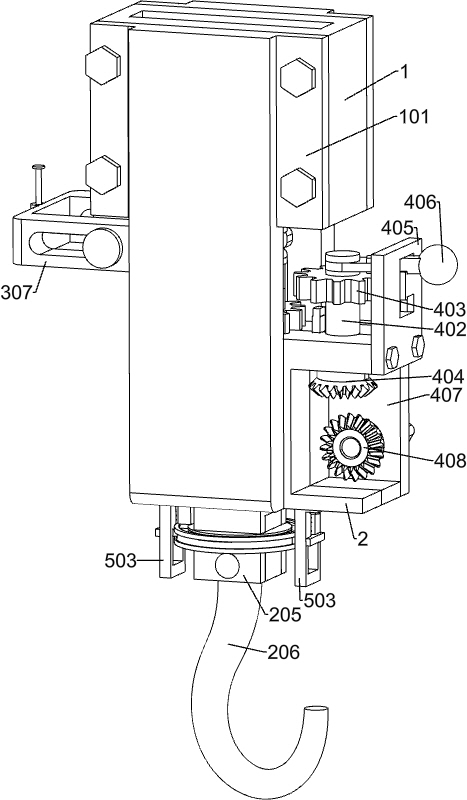
本发明涉及一种定位装置,尤其涉及一种吊钩防旋转定位装置。技术问题为:提供一种可以在吊起和放下货物时自动调节吊钩状态,并且便于勾住货物的吊钩防旋转定位装置。技术方案是:一种吊钩防旋转定位装置,包括有连接座、连接板、承载座、主动轴、第一压盘、第二压盘等;连接座上对称的固接有两个连接板,两个连接板上共同固接有承载座,承载座上转动连接有主动轴,主动轴上固接有第一压盘,主动轴上连接有第二压盘,主动轴上套有用于推动第一压盘和第二压盘向上复位的复位弹簧。通过吊钩、连接块、限位机构、限位槽和六棱柱的配合克服了现有技术中的吊钩不能在吊起和放下货物时自动调节吊钩的状态和调节的效率较低等缺点。
